一、办理依据
《社会救助暂行办法》(国务院令第649号)。
二、办理条件
遭遇突发事件、意外伤害、重大疾病或其他特殊原因导致基本生活陷入困境,其他社会救助制度暂时无法覆盖或救助之后基本生活仍有严重困难的家庭或个人。
三、申报材料
1.居民户口本复印件;
2.居民身份证或复印件;
3.有单位的,所在单位出具的收入证明;
4.民政部门认为需要提供的其他相关证明材料,如城乡居民最低生活保障证明等。
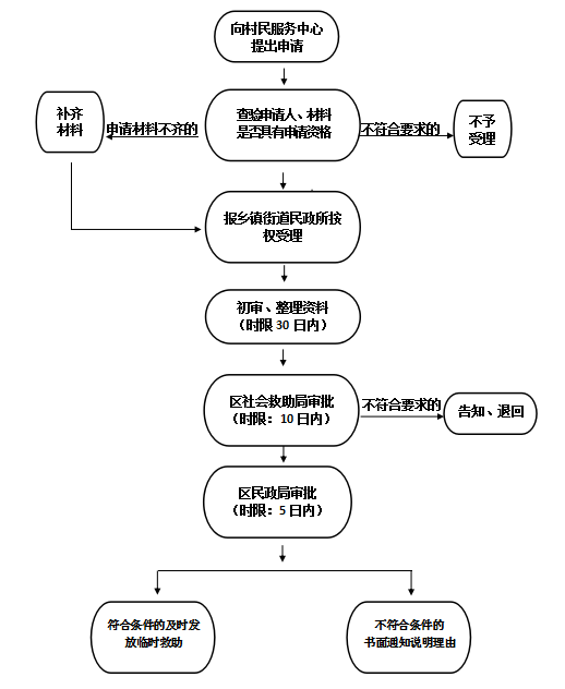
四、办理程序
本人申请、乡镇按权限审核、区民政局审批;因群体性事件、特重大自然灾害或特殊原因造成申请救助家庭生活特困,救助款金额巨大的需报资阳区临时救助领导小组集体研究后按程序审批。
五、办理时限
符合条件的,即时办理。
六、收费标准
无收费。
七、服务单位
资阳区民政局社会救助管理局。
八、联系电话
0737-4318691

| 市民意见 | 市民 | 反馈时间 |
|---|